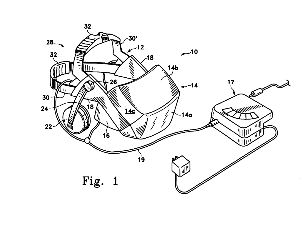
The Optikos 10th Anniversary party. From left to right, Phill and Ellen Dunn, Betsy, Dennis, and Steve Fantone, Tom and Cyndy Bates- 1992 Andrew Sheinis working with a Zygo interferometer circa 1994 Living without a loading dock, Optikos employees load product onto a crate for shipment - 1992 20 of Optikos's early employees - 1992 Following a presentation on optics in consumer products Drafting boards before CAD, notice the Mac computers Andrew Sheinis working with a Zygo interferometer circa 1994 Pat Cronkite, Peter Carellas, Groot Gregory, and Bob Forsyth at a Rochester optics show Early nodal slide MTF bench with an early version of video MTF Software – 1990 Sample images used to produce lenticular 3D images for jewel cases Jian Zhang and daughter at holiday party - 1999 Peter Carellas, Bob Forsyth, Steve Fantone, Mark Wildy -Training on the functions of the newly acquired Tropel line of benches Sue Metzinger, Richardine O'Brien, Theresa White Cambridge employees circa 1994 First international trade show, Europe 1990 Cambridge location at Cardinal Medeiros - 1997 Inside the Cardinal Medeiros location in Cambridge, MA Bob Jacobsen assembling the first Optikos hardware product, a laser based end point detector for a semiconductor plasma etching machine Orienting a boule for polishing and cutting, Optikos pioneered the polishing of cubic zirconia Roy Youman working with a Tropel bench Dan Krill, Theresa White Polishing a ZZ window Optikos's booth at a European trade show Screenshot of LMI plus instrument for measuring contact lens molds Radial curvature measurement instrument The Scubascope, a children's subsurface periscope for exploration invented by Optikos Optikos patent on a virtual reality video headset Dr. Milton M.T. Chang interviews Dr. Stephen D. Fantone for Photonics Spectra magazine, 1999