Optikos
The Optical Engineering Experts
Product Development
Design Services
Pre-Engineered Microscope Solutions
Manufacturing
Overview
Capabilities
Facility
Metrology Products & Services
IQ Lab Testing Services
How to Measure MTF
Products
Collimators
ColliMeter™
Collimators for Optical Testing
Focusing Target Projector
Multispectral Object Generators
Sol Projectors
Visible and NIR Static Target Projector (STP)
Long Wave Infrared Static Target Projector (LWIR STP)
Lens Testing Equipment
Streamline Your Lens Qualification with LensCheck™ Systems
OpTest® Lens Measurement System
OpTest® 7 Software
Meridian® Camera Testing Equipment
Meridian® Starfield
Meridian® Sunfield
Meridian® Brightfield
Meridian® FLEX Platform
Meridian® Mosaic Device
Meridian® Prime Software
Ophthalmic Testing Equipment
Maintenance Service
Markets
Life Sciences / Medical
Space Optics
Defense
Aerial Imaging
Automotive
Consumer
About
About Optikos
Management
Careers
Student Opportunities
News
Events
Anywhere Light Goes Blog
Contact
Worldwide Locations
Resources
Webinars
Technical Papers
Articles
Case Studies
Camera MTF Calculator
ISO Certifications
Data Sheets
Optikos Patents
Policies
Privacy Policy
Code of Conduct
Search
Search
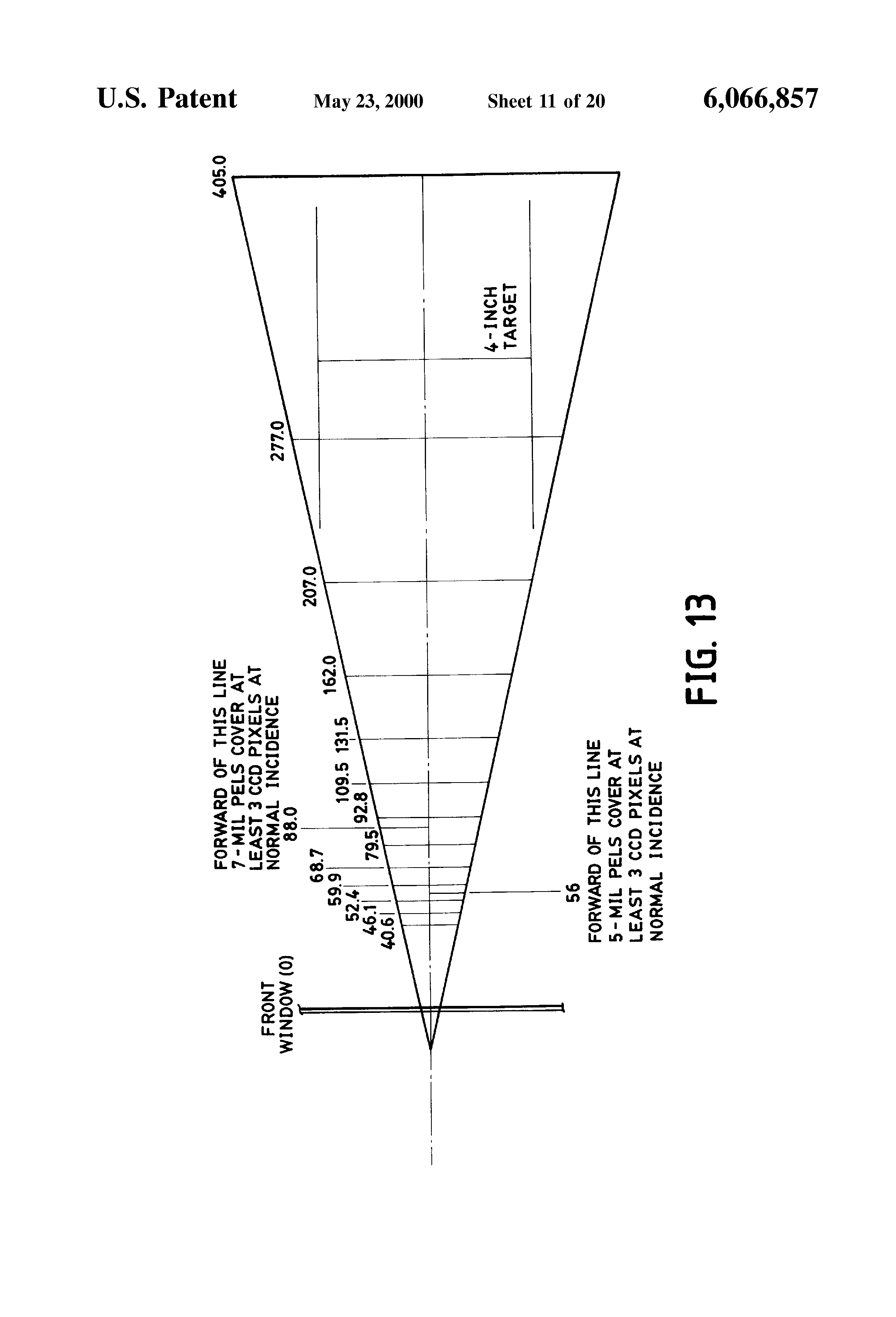
US6066857-11
December 3, 2013
By
Optikos Corporation
About
Optikos Corporation
MENU
Product Development
Design Services
Pre-Engineered Microscope Solutions
Back
Manufacturing
Overview
Capabilities
Facility
Back
Metrology Products & Services
IQ Lab Testing Services
How to Measure MTF
Back
Products
Collimators
Lens Testing Equipment
Camera Testing Equipment
Ophthalmic Testing Equipment
Back
Maintenance Service
Back
Markets
Life Sciences/Medical
Space Optics
Defense
Aerial Imaging
Automotive
Consumer
Back
About
About Optikos
Management Team
Careers
News
Events
Back
Anywhere Light Goes™ Blog
Contact
Worldwide Locations
Back
Resources
Webinars
Technical Papers
Articles
Case Studies
Camera MTF Calculator
ISO Certifications
Data Sheets
Optikos Patents
Policies
Privacy Policy
Code of Conduct
Back
Back
1(617) 354-7557